KOR

제품소개

도로와 현장의 안전을 책임지는 기술 리더 (주)성원안전

래칫형 낙석방지울타리 공법은 낙석 충격 흡수 능력과 유지보수 용이성을 향상시키기 위해 개발

01
래칫형 낙석방지울타리 공법
  • 래칫형 낙석방지울타리 공법은 낙석 충격 흡수 능력과 유지보수 용이성을 향상시키기 위해 개발된 낙석방지울타리의 한 종류이며, 특히 '래칫(Ratchet)'이라는 형태의 걸쇠방식으로 와이어 로프 등의 인장력을 조절하고 유지하는 메커니즘으로 기존의 제품의 낮은 충격흡수능력, 파손시 전체구간 해체필요, 유지보수비용과다등을 개선하기 위해 개발된 공법임
02
낙석 방지 울타리의 장점
충격 에너지 흡수 능력

• 낙석방지 울타리는 강철 와이어 로프, 그물망, 특수 고정 장치 등 유연한 재료로 구성되어 있습니다.
• 유연성은 낙석의 충격 에너지를 효과적으로 분산 및 흡수하여, 낙석이 울타리를 넘어가지 않도록 막아주고, 동시에 울타리 자체의 파손 위험을 줄여줍니다. 이는 강성이 높은 콘크리트 옹벽 등과 비교할 때 큰 장점입니다.
설치 용이성 및 공사 기간 단축

• 기성품 형태의 모듈식으로 제작되는 경우가 많아 현장에서의 조립 및 설치가 비교적 간단합니다.
• 시공 기간을 단축시키고, 현장 작업의 효율성을 높여줍니다. 특히 급경사지나 접근이 어려운 지역에서도 설치가 용이한 경우가 많습니다.
경제성 (상대적)

• 기성품 형태의 모듈식으로 제작되는 경우가 많아 현장에서의 조립 및 설치가 비교적 간단합니다.
• 시공 기간을 단축시키고, 현장 작업의 효율성을 높여줍니다. 특히 급경사지나 접근이 어려운 지역에서도 설치가 용이한 경우가 많습니다.
다양한 지형 적용 가능성

• 수직에 가까운 절개지부터 완만한 경사지까지 다양한 지형 조건에 맞춰 설계 및 설치가 가능합니다.
• 지형의 굴곡에 따라 유연하게 설치할 수 있어 복잡한 현장 조건에도 잘 적용됩니다.
유지보수의 편리성

• 낙석 발생 시 낙석이 울타리 내에 쌓이면 이를 제거하고, 부분적으로 손상된 와이어나 그물망 등을 교체하는 방식으로 유지보수가 가능합니다.
• 전체 구조물을 교체할 필요가 없어 유지보수 비용과 시간이 절감됩니다.
친환경적 측면 (일부 모델)

• 일부 낙석방지 울타리는 투과성이 높은 그물망을 사용하여 식생의 성장을 방해하지 않고, 주변 경관과의 조화를 고려하여 설계되기도 합니다.
• 이는 자연 친화적인 접근 방식을 가능하게 합니다.

시공의 용이성

  • 사용자재의 자체생산조달 및 현장조립설치로 기술 보유 숙련공이 시공하여 공기를 1개월 단축시킬 수 있다.
  • 경량화된 부재 사용으로 무거운 철골 구조물 대신 고강도 와이어 로프, 경량 금속 또는 복합 소재를 사용하면 운반 및 설치가 용이해집니다.
  • 현장에서 복잡한 가공 없이 공장에서 사전 제작된 모듈형 부재를 현장에서 조립하는 방식은 시공 시간을 크게 단축합니다.
  • 표준화되고 간소화된 공정은 시공 품질의 편차를 줄이고 균일한 품질을 확보하는 데 도움이 됩니다.

경관성

  • 자연 친화적 소재: 목재, 자연석 등을 활용하여 주변 자연 환경과 어우러지도록 할 수 있습니다. 하지만 유지보수와 내구성 측면에서 한계가 있을 수 있으므로, 부분적으로 적용하거나 자연석 질감을 흉내 낸 콘크리트 등의 재료를 활용할 수도 있습니다.
  • 아연도금 코팅망으로 주변환경과의 자연스러운 색감조성으로 시간이 지날수록 환경과 더 어울려질수 있다.
  • 주변 환경 여건에 따라 녹색코팅망 또는 밤색 코팅망 사용으로 주변환경과 조화롭게 시공하여 주변 경관과의 조화를 이룬다.
    해당 사면에 식생하고 있는 수목중 보존해야 할 수목은 제거하지 않고 시공가능하여 친환경적이다. 주변의 자연색(녹색, 갈색, 회색 계열)과 유사한 색상을 사용하여 이질감을 줄입니다. 눈에 띄지 않도록 명도를 낮춘 무채색 계열을 사용하기도 합니다. 최근에는 코르텐강(Corten steel)처럼 자연스러운 녹이 슬면서 주변 환경과 조화되는 소재도 사용됩니다.
  • 시야를 가리지 않고 주변 경관을 조망할 수 있도록 그물망 형태, 투명한 소재(제한적) 등을 활용합니다. 와이어 로프, 고강도 섬유망 등이 이에 해당됩니다.

유지보수 · 경제성

유지보수의 필요성 및 경제 효과 유지관리 용이성
인명 및 재산 피해 방지: 낙석 사고는 인명 피해는 물론, 도로, 철도, 주택 등 인프라 시설에 막대한 재산 피해를 야기할 수 있습니다. 울타리 유지보수를 통해 이러한 사고를 예방하는 것은 가장 큰 경제적 이점입니다. 사고 발생 시 발생하는 응급 복구 비용, 보험 처리 비용, 법적 책임 등을 고려하면 예방 투자의 가치가 훨씬 높습니다.
시설물의 수명 연장: 정기적인 점검 및 보수를 통해 낙석방지 울타리 자체의 노후화나 손상을 조기에 발견하고 개선하여 시설물의 수명을 연장할 수 있습니다. 이는 재설치 주기를 늘려 장기적인 비용 절감 효과를 가져옵니다. 교통 혼잡 및 운영 중단 방지: 낙석 사고는 교통 흐름을 방해하고 도로 또는 철도의 운영 중단을 초래하여 경제적 손실을 발생시킬 수 있습니다. 울타리 유지보수는 이러한 운영 연속성을 보장하여 잠재적 손실을 줄입니다.
환경 보호 및 경관 유지: 사면 안정화 및 침식 방지를 통해 자연 경관을 유지하고 환경적 영향을 최소화하는 데 기여합니다.
충격 흡수 능력 향상: 낙석 충격 흡수 능력이 우수한 신소재 또는 신기술을 적용하면 낙석으로 인한 울타리 손상을 최소화하여 유지보수 빈도와 비용을 줄일 수 있습니다. (예: CK 낙석방지울타리는 기존 울타리 대비 충격 흡수 능력을 증대시켜 유지보수 비용을 40% 절감하는 효과를 제시)
손상 시 용이한 교체 및 조립: 낙석에 의한 파손 시 구간별 해체 및 조립이 용이한 구조는 유지보수 시간을 단축하고 비용을 절감하는 데 도움이 됩니다.
경량화 및 간편한 설치: 경량 부재를 사용하여 설치 및 교체 작업을 용이하게 하고, 콘크리트 기초가 필요 없는 친환경적인 공법을 적용하여 시공 기간과 비용을 줄일 수 있습니다. (예: Practfence는 콘크리트 기초 없이 설치가 가능하여 유지보수가 용이하고 친환경적)
정기적인 점검 및 예방적 유지보수: 사고 발생 후 수리하는 방식이 아닌, 정기적인 점검을 통해 작은 손상을 미리 보수하여 대규모 파손을 예방하는 것이 장기적으로 더 경제적입니다.
01
시공과정
기초 공사
• 설계된 위치에 맞춰 터파기 작업을 진행합니다.
• 기초 콘크리트를 타설하고 양생하여 지주를 견고하게 지지할 수 있는 기반
지주 설치
• 콘크리트 기초에 지주(H빔 등)를 세우고 고정합니다.
• 지주가 수직으로 정확히 설치되었는지 확인합니다.
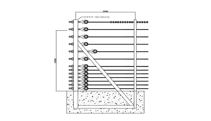
와이어로프 및 래칫 설치
• 지주 간에 와이어로프를 수평으로 연결합니다.
• 이때 와이어로프의 단부나 중간에 래칫(스프링, 댐퍼 등)를 설치하여 충격 흡수 기능을 부여합니다.
• 일반적으로 하부 와이어로프에 낙석이 충돌할 가능성이 높으므로, 하부 와이어로프의 간격을 조밀하게 설치하는 경우가 있습니다.
포획망 설치
• 지주와 와이어로프에 PVC 코팅망 등 포획망을 설치합니다.
• 망이 와이어로프와 일체화되도록 클립 등으로 견고하게 결속합니다.
• 망과 망이 겹치는 부분은 50cm 이상 겹이음하여 낙석이 빠져나가지 않도록 합니다.
마무리 작업
• 울타리 전체의 연결 상태를 점검하고, 필요한 경우 와이어로프의 인장력을 조절합니다.
• 현장 주변을 정리하고 시공 부위의 되메우기 작업을 실시합니다.


02

시공과정 안내

기초터파기
단양 가선지구 이미지 2
기초거푸집설치
단양 가선지구 이미지 3
주주설치 및 기초 콘크리트 타설
단양 가선지구 이미지 4
와이어로프 및 PVC 코팅망설치
단양 가선지구 이미지 3
낙석방지울타리 (래칫) 완공
단양 가선지구 이미지 4
낙석방지울타리 (래칫) 완공
01

현장검토 보고

단양 가선지구 이미지 1
단양 가선지구 이미지 2
단양 가선지구 이미지 3
단양 가선지구 이미지 4
단부구간
표준구간
01

제품영상

제품영상 1
제품영상 1
제품영상 1
영상소개 2
영상소개 2
영상소개 2